Ето ти на първо време нещо за размисъл http://sofia.sparkygroup.com:1780/~pr/s ... UR102E.pdf
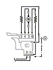
Преди време слагах такъв ключ с реверс и регулиране на обикновена дрелка Б10П по тази схема за ключ Marquardt 1298.7201 6/250~
Преди време слагах такъв ключ с реверс и регулиране на обикновена дрелка Б10П по тази схема за ключ Marquardt 1298.7201 6/250~
Прикачен файл
Клипборд02.jpg (16.88 KиБ) Видяна 5725 пъти

