• 1
  • 2
От мобилни телефони до цифрови камери
mancuzo - помощник
Здравейте, имам нужда от малко информация и помощ относно една схема и нейното изпълнение. Идеята ми е дали е изпълнима и колко би ми струвало да ми я направят.
Поздрави.

Прикачен файл

Untitled4.jpg
Untitled4.jpg (41.23 KиБ) Видяна 9082 пъти
lenko71 - специалист
Абе човек ние да не сме екстрасенси (аз поне не съм). Кажи поне за какво става въпрос, каква е интегралната схема...
mancuzo - помощник
lenko71 написа:
Абе човек ние да не сме екстрасенси (аз поне не съм). Кажи поне за какво става въпрос, каква е интегралната схема...
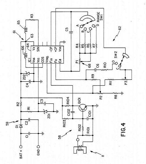
Така като я гледам нищо не разбирам по нея. Знам, че е за устроиство което улавя сигнал от алтернатор и го праща на оборотомер.Схемата е от патент. Затова попитах дали по тия данни може да се направи.

Прикачен файл

Untitled2.jpg
Untitled2.jpg (44.1 KиБ) Видяна 9062 пъти
maddoktor - специалист
оборотомер ли ще правиш ?
lenko71 - специалист
mancuzo написа:
дали по тия данни може да се направи.
Няма начин, няма стойности и т. н.
mancuzo - помощник
maddoktor написа:
оборотомер ли ще правиш ?
Именно. Взел съм си табло с оборотомер и температурен датчик, че старото нямаше. Сигнала няма от къде да го вземапонеже нямам нито бордови комп, нито бобина(колата е дизел) и единствения вариант май е ако взема сигнал през алтернатора. Дайте съвет какво да правя.Как да подкарам оборотомера. Много ви моля, знам че сте професионалисти и правите чудеса ;)
MamaMy - майстор
Те повечето дизели от там си взимат сигнала за оборотомера, но самия уред също е предвиден за дизел. Намери си табло от дизел, а извода от генератора се вади от коя да е намотка. Те са 3.
mancuzo - помощник
MamaMy написа:
Те повечето дизели от там си взимат сигнала за оборотомера, но самия уред също е предвиден за дизел. Намери си табло от дизел, а извода от генератора се вади от коя да е намотка. Те са 3.
Сега съм с ново табло на което си има оборотомер за разлика от старото. Номера е че колата не е предвивдана за оборотомер въобще и не е окабелена. Моля за малко инфо относно ваденето на извод от генератора. Какво точно се прави и дали трябва да се купуват допълнителни неща за процедурата.
stefan_gb - специалист
mancuzo каква е колата , и новото таблото за каква кола е .....
  • 1
  • 2

Тема "Питане за схема ?" | Включи се в дискусията:


Сподели форума:

Бъди информиран. Следвай "Направи сам" във Facebook:

Намери изпълнител и вдъхновения за дома. Следвай MaistorPlus във Facebook: