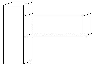
По какъв начин да "свържа" двете греди показани на снимката. Размера им е 100мм/70мм, т.е. сравнително големи. Условието е да няма външни свързващи елементи (примерно г - образни планки). С пирони също не става. Важното е "свръзката" да не се вижда (т.е. да е само на контактната площ). Идва ми като идея с дибли, ако е със стандартните мисля, че няма да е достатъчно устойчиво, може някакви по-големи да търся (или евентуално да отрежа от арматурно желязо
). Съществува ли друг вариант. Някаква джаджа на двете греди и да се закачат
Дайте идеи.
Прикачен файл
греди
gredi.JPG (6.56 KиБ) Видяна 8422 пъти
