Всичко за дърводелството
shadowman - майстор
Трябва ми схема за направя на шкаф с чекмеджета с централно заключване. До ся не ми се е налагало да правя такова чудо ама ето че му дойде часа. От магазина не ми дадоха схема. Става въпрос за ето това -> http://www.kentimpex.bg/catalog/cat.73/item.3249 но не е даден точния размер къде да направя нута за да сложа плъзгача.
invizitor - специалист
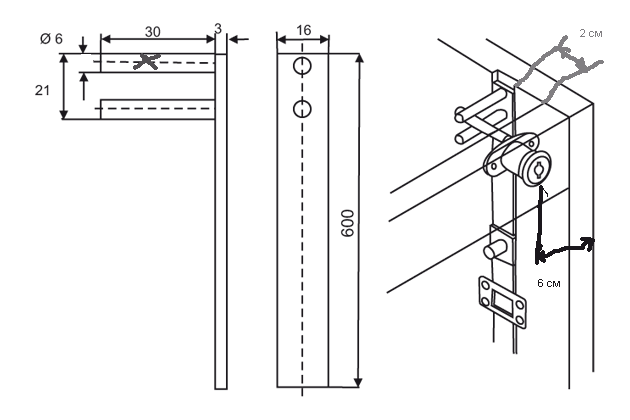
На таблицата на кент липсват тия два сантиметра.Тука е дадено с вътрешни чела.При външни двата сантиметра се мерят от канта на страницата.

Ключалката може да се сложи на отделна бленда както на скицата или направо върху най-горното чело,което си е добър безпроблемен вариант.

Общо взето нещата стоят така: 1.Правиш нута на страницата.Доколкото помня е около 2 см.
2.Слагаш в нута пръчката с предварително наредени,но незахванати стопери и пластини за закрепване.(ако използваш обикновенни водачи за чекмеджета,то сигурно ще трябва да накъсиш малко стоперите,защото опират в чекмеджето) като първо трябва да нанижеш една от пластините за закрепване, която ще бъде ограничител за пропадане на пръчката.С други думи:завиваш я така най-отгоре,че пръчката да се опре на нея с долното от двете стърчащи и така определяш най-ниския ход на системата (отключено) При завъртане на ключалката нейния палец трябва да отиде нагоре и да избута горното стърчащо и системата се придвижва нагоре (заключено)
3.Закрепваш пръчката и сглабяш шкафа.(ВАЖНО е да не навиваш винтчетата на стоперите,защото си правят място в алуминия и понякога трябват стотни за фин реглаж и не става,защото пак си влиза в дупката и остава на същото място)
4.Слагаш чекмеджетата и челата
5.Слагане на ключалка.След дългогодишни опити и грешки се стигна до формулата за определяне на центъра на отвора- около 6 см от вънщния габарит на шкафа по хоризонтала и където се пада центъра на оста на горното стърчащо (сложил съм хиксче) при крайно положение надолу (отворено) по вертикала.ключалката трябва да се върти свободно заедно с пръчката.
6.Слагане на стопери.


Надявам се да е станало поне малко ясно.По-лесно ми е да го покажа как става.

Прикачен файл

0002-0811001.gif
0002-0811001.gif (24.8 KиБ) Видяна 2758 пъти
shadowman - майстор
Мерси за информацията, ще го пробвам в скоро време. Само да питам пак, значи нута на 2 см + 1,8 см чело = 3,8 см?
kobutan - специалист
едно време и аз направих такова офис шкафче.
значи това е една пластинка с зъбци така да го каже, които чрез ключ се придвижват нагоре-надолу. точни размери не помня, виж колко се вдигат зъбците между отключено и заключено положение - 1 оборот.
толкова мм трябва да ти е хода= нута = канала + свободния ход под чекмеджето, направен на страницата на чекмеджето, за да може там да влезе зъбчето.
сложно го казах - значи толкова и малко отгоре трябва да имаш ход - това са нута и своб.пространство между страниците на чекмеджетата.
аз си бележех на пластинката къде трябва да е положението на зъбците и после ги стягах по тоя белег.
за всяко чекмедже си има по 1 зъбче. ключалката най горе в челото я бях монтирал.
друго заради което пиша това съобщение - правех го с обикновени ролкови водачи, при тях зъбчето отдолу нагоре като се движи опира във водача, затова направих чекмеджетата по големи - например дължина на водачи 400 мм, а чекмеджето 430 мм, като водачите ги изравнявам по задния край на чекмеджето, т.е. отпред остава 30 мм празно место, където да влиза и излиза съответно зъбчето. :-D
естествено и като се монтират водачите на страниците се слагат не равно на ръба, а 30 мм навътре....може да идеш и в някой по голям магазин и да разгледаш как са го направили колегите.
абе обяснението наистина е по сложно от самото правене, ама като няма хубави инструкции за монтаж така става....

Тема "Колеги, търся малко помощ" | Включи се в дискусията:


Сподели форума:

Бъди информиран. Следвай "Направи сам" във Facebook:

Намери изпълнител и вдъхновения за дома. Следвай MaistorPlus във Facebook: