Място за идеи и желания за проектиране и изработка на готови проекти.
brunder - специалист
Та въпроса ми е как можем да направим Настолни бормашини смисал само стоиката и отгоре да напъхаме дрелката обикновенна?Някакви идеи?[/code]

Прикачен файл

B1316B.jpg
B1316B.jpg (19.34 KиБ) Видяна 11674 пъти
naskov - майстор
Продават се готови
brunder - специалист
ДА знам но са мн скъпи и сега не сам ми по бюджета (се пак съм на 13 събирам по 100 на месец е)И за тва питам за варянти.
шоп - майстор
Моята първа самоделка е от кормилна щанга на стар вартбург:-) На нея със скоба закрепвам бормашината.

Утре ако ми остане време ще я снимам. Много е стабилна никакво мъд=рдане и отклонение/
brunder - специалист
Ами ако я снимаш ще е супер че не те разбрах много. :)
miroton - майстор
Една такава бормашина струва 89 лв.Етоти по скъпа http://optim.bg/index.php?cPath=35
ben84 - специалист
Ако тепърва ще търсиш материали и стругар, по-добре си купи готова. Иначе нещо такова ти е нужно може би
:?
Успех!

Прикачен файл

б.JPG
б.JPG (188.27 KиБ) Видяна 11559 пъти

Прикачен файл

бб.JPG
бб.JPG (202.91 KиБ) Видяна 11559 пъти

Прикачен файл

ббб.JPG
ббб.JPG (225.18 KиБ) Видяна 11559 пъти
brunder - специалист
А пружина от къде да взема че нямам :?
Kirilpm - специалист
Стефан написа:
brunder написа:
НЕ просто питам тук а не питам бащами ами помисли малко ве стефане може да съм се сетил за вторични сорувени ама тука при нас да няма.
Ако наистина си малко момче, наблегни на граматиката. От това, което виждам, се отвращавам като правопис. Съжалявам, че те похвалих. Вече се съмнявам, че и корабчетата са твоя изработка. Не е възможно човек с нула интелект да сътвори такива корабчета.

И не напразно са те гонили от други форуми.
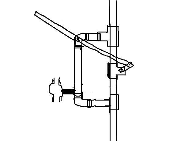
Е защо трябва да се заядеш?Аз за пръв път в живота ми виждам някой младеж да има желание да сътвори нещо подобно,та мислих си кое би било най-лесно за теб и драснах една скица на Пеинт всички части са ВиК тръби само 4 заварки има.Най-добре някой по-опитен да го завари,а пружините,може да наредиш няколко подходящи пружини от клапани една върху друга може да си ги набавиш от автоморгите.Скобите стават от 4те скоби на ладите,които държат тампоните на предна реактивна щанга мисля,че са доста ефтини дори и нови.Като съберете стойката внимавай как стягаш,внимавай какво пробиваш,че изскочи ли дрелката...Оста предлагам да вземеш от амортисьор,а тетките,ако решиш с тях да го правиш ги заглади с пила ако нямаш друга възможност за да отпаднат резбите,те трябва да влизат плътно,но не и стегнато.Тази стойка се различава по горната по това че тук дрелката може да се върти на 360 градуса около оста,но отворите не винаги са толкова точни,тук вече ти избираш,според това което ти трябва.

Прикачен файл

ad.png
ad.png (17.64 KиБ) Видяна 11442 пъти

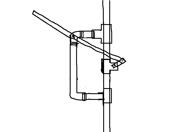
Прикачен файл

ad.png
ad.png (16.27 KиБ) Видяна 11449 пъти
brunder - специалист
Ами горе доло те разбрах само не те разбрах за пружините.Ами аз мислех да взема една ВиК тръба да я вавъря за едно метално (пърче доло платформата)И горе да го направя нещо подобно на колегата от горния пост с снимките ако може да начертаеш нещо малко да се подразбира че не мога да го разбера.МЕрси се пак за скиците.

Тема "Настолни бормашини как" | Включи се в дискусията:


Сподели форума:

Бъди информиран. Следвай "Направи сам" във Facebook:

Намери изпълнител и вдъхновения за дома. Следвай MaistorPlus във Facebook: