Всичко свързано с тоците ми е слабост, опитайте се да ме затрудните.
Здравейте, момчета, Искам да споделя един проблем.В работата има ТРИОДИНА,която е вързана в звезда -Триъгълник.Проблемът
е,че искам да разбера посоката на контакторите,тоест дали въртят в една и съща посока.Мисля да направя следното нещо :
Да откача захранването на звездата (от бобината на контактора) и после на триъгълника,но, доколкото знам, мога да изгоря
двигателя като изключа триъгълника.Триодината е 16 Кw :?:
azaz1217 - помощник
Joshko написа:
Здравейте, момчета, Искам да споделя един проблем.В работата има ТРИОДИНА,която е вързана в звезда -Триъгълник.Проблемът
е,че искам да разбера посоката на контакторите,тоест дали въртят в една и съща посока.Мисля да направя следното нещо :
Да откача захранването на звездата (от бобината на контактора) и после на триъгълника,но, доколкото знам, мога да изгоря
двигателя като изключа триъгълника.Триодината е 16 Кw :?:
Не можах да ти схвана мисълта и въпроса .Контакторите не се въртят , триодината не може да се върти в различни посоки .
azaz1217 написа:
Joshko написа:
Здравейте, момчета, Искам да споделя един проблем.В работата има ТРИОДИНА,която е вързана в звезда -Триъгълник.Проблемът
е,че искам да разбера посоката на контакторите,тоест дали въртят в една и съща посока.Мисля да направя следното нещо :
Да откача захранването на звездата (от бобината на контактора) и после на триъгълника,но, доколкото знам, мога да изгоря
двигателя като изключа триъгълника.Триодината е 16 Кw :?:
Не можах да ти схвана мисълта и въпроса .Контакторите не се въртят , триодината не може да се върти в различни посоки .
Мисълта ми е такава ,че ,като пуснеш Триодината ,която е в звезда-триъгълник,и триъгълника завърти на ляво,а звездата на
дясно ще стане беля. Имаше разкачени кабели на контакторите и захранващия кабел, които съм въстановил.Има ли начин,как
да разбера по отделно ,кои контактор накъде върти?
Andri01 - майстор
Разкачваш и завърташ по отделно двигателя на звезда и после на триъгълник. Така ще видиш как върти. Ако можеш откачи товара от двигателя.
kuger - майстор
Проверяваш жило по жило опроводяването, проверяваш изводите на двигателя /начала и краища/, свързваш по схемата и си готов.
Прикачен файл:
att-4975e82aa9d8cezda.jpg
att-4975e82aa9d8cezda.jpg (25.3 KиБ) Видяна 6948 пъти
todortv - майстор
Ако има разменени фази (посоки) няма да изгориш мотора , а ще има бум.... :-D
1. Ако изводите на мотора не са пипани, слагаш едноименни фази на захранващите кабели една срещу друга( вместо моста за триъгълник) на клемното табло.
2. Ако изводите на мотора са пипани, първо с омметър сфазираш в триъгълник.
3. Смяна на посока става с размяна на фази от двете старани на клемното табло!
U1 - W2 фаза 1
V1 - U2 фаза 2
W1 - V2 фаза 3

Изображение
:partyman:
valentino76bs - майстор
Да питам какво е триодина ,гледам в нета елетрожен ли какво е .... :?
kolev_k - специалист
valentino76bs написа:
Да питам какво е триодина ,гледам в нета елетрожен ли какво е .... :?
Това е мотор-генератор за електродъгови заварки.Асинхронен двигател върти колекторен генератор,който генерира постоянен ток.С реостат който променя възбуждането на генератора се променя и заваръчния ток.Предполагам че така им викат,щото първите заваръчни постоянно-токови устойства са били траф и трифазен грец.Баща ми на всеки перфоратор му вика Хилти,щото такава марка е видял за 1-ви път.
valentino76bs написа:
Да питам какво е триодина ,гледам в нета елетрожен ли какво е .... :?
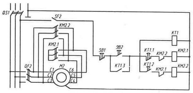
Триодината е вид електрожен,които няма никаква кои знае каква електроника,дори може да заваряваш,ако някои върти с манивела
ротора.Ето схема звезда-триъгълник,която аз използвам.Краищата на статора мисля че не са пипани и би трябвало да са си така.
Мисля да направя,както КУГЕР е предложил "Проверяваш жило по жило опроводяването, проверяваш изводите на двигателя
/начала и краища/, свързваш по схемата и си готов".

Прикачен файл

20150112_095534.jpg
hidrazin - майстор
За това на къде ще завърти мотора даже си има уредчета. Направо ти показват посоката на въртене.
Имам и модерен като този:
Изображение
Имам и един древен точно такъв:
Изображение
И двата вършат една и съща работа нищо че единия струва многократно повече от другия. И двата работят без батерии.
Друг лесен начин е да си намериш някое малко трифазно моторче за вентилатор. Имам някъде такова колкото юмрук.
Свързваш на мястото на големия матор и гледаш какво се случва. Може разбира се и с някой по-голям мотор.
:partyman:

Тема "ТРИОДИНА !!!! важно" | Включи се в дискусията:


Сподели форума:

Бъди информиран. Следвай "Направи сам" във Facebook:

Намери изпълнител и вдъхновения за дома. Следвай MaistorPlus във Facebook: