Всичко свързано с тоците ми е слабост, опитайте се да ме затрудните.
Panzer - специалист
Колеги искам да попитам как да сменя посоката на вентилатор които се намира в стар руски прозоречен климатик. Не съм го отварял все още, но намерих схема в нета
Изображение
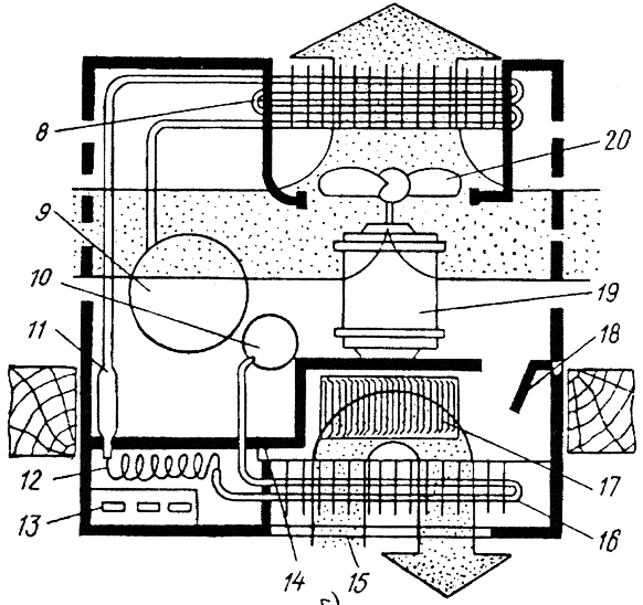
Рис. 3. Кондиционер БК-1500, электрическая схема:

СПЭ — конденсатор пусковой емкостью 60 мкф на напряжение 320 В; МК — компрессор; СРБ — конденсатор рабочий; МВ — однофазный электродвигатель; РНП — реле напряжения пусковое, 10 А, 250 В; ДРТ — датчик реле — температуры; РТТ — реле температурно-токовое; R — резистор сопротивлением 100 кОм
fbr - майстор
Размени краищата на едната от двете намотки.
fikata - майстор
Размени краищата на едната от двете намотки.
Намотките са три?!
Опитай като размениш крайщата на намотките ГО и ВО.
Panzer - специалист
Мерси за отговорите , утре ще опитам да го разглобя.:)
fbr - майстор
fikata написа:
Опитай като размениш крайщата на намотките ГО и ВО.
ВО е работната намотка. Като и размени горния край с десния край на ГО, няма да се смени посоката на въртене, а ще падне мощността на двигателя, тъй като през работната намотка ще тече ток, който ще се ограничава от кондензатора. Намотките ВО и ДО са свързани вътрешно, и затова ги смятам за една. Ако ти ги смяташ за две, нека така да бъде. А посоката ще се смени, ако се разменят краищата на ГО, или краищата на намотката образувана от ВО и ДО.
Johny - майстор
Мотора е двускоростен!
preslav - майстор
Johny написа:
Мотора е двускоростен!
Да не кажем и многоскоростен при посочената схема на свързване.
Johny - майстор
Има 2 скорости и два режима. В единият режим работи заедно с компресора, а в другият работи без компресор като вентилатор. Това там - 18 е една клапа, която се отваря ръчно, за да взема въздух от вън в режим на вентилатор.
Само защо му е на колегата тази гимнастика. :? Това вече няма да бъде климатик.

Прикачен файл

bk_02.gif
bk_02.gif (42.69 KиБ) Видяна 6482 пъти
Panzer - специалист
Ха, днес се наложи да го сваля целия климатик, беше монтиран на стена. Голямо къртене падна :) Проблема се оказа точно тази клапа, която не искаше да отваря. Жилото беше доста клеясало. Иначе климатика си е пригоден и да изкарва въздуха от помещението работейки в режим вентилатор. След като оправих жилото и затворих желюзната решетка, почна да смуче въздух от помещението, точно както се искаше. Когато разглеждах схемата която е качил Johny съм объркал положението на климатика , коя част е отвън и коя отвътре, затова питах за смяна на посоката. Е не се наложи да го правя, въпреки че за проба размених краищата на 1 намотка и тръгна в обратна посока. :-D Двигателя е двускоростен, духа слабо и силно.
ХУЛИГАНЮ2 - специалист
Обърни мотора на обратно!Така ще духа в обратната посока. :-D

Тема "Смяна посока на въртене на вентилатор" | Включи се в дискусията:


Сподели форума:

Бъди информиран. Следвай "Направи сам" във Facebook:

Намери изпълнител и вдъхновения за дома. Следвай MaistorPlus във Facebook: