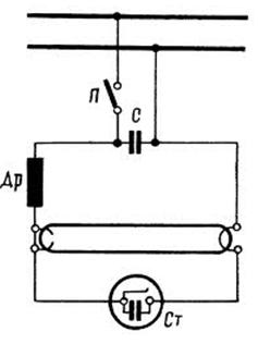
как да свържа кабелите към тока.подадох напрежение на син и кафяв кабел и лампата думна и АП изклочи.Имам още една лампа и не искам да рискувам и нея.
Прикачен файл
P150710_13.59.JPG (66.47 KиБ) Видяна 5253 пъти
Прикачен файл
P150710_14.00.JPG (61.25 KиБ) Видяна 5253 пъти
Прикачен файл
P150710_14.00[01].JPG (67.02 KиБ) Видяна 5253 пъти

