Всичко свързано с тоците ми е слабост, опитайте се да ме затрудните.
RANOPILE - напреднал
VW Polo 90-94г 1043куб.см. двигател.
Веднъж гледах характеристики на алтернатора върху корпуса му - ако трябва пак ще погледна.
В краен случай ще се вземе ток директно от акумулатора и ще го мислим нещо.
Надявам се да не се окаже, че ако сложа реле(индуктивност) във веригата "габарит"(само когато е включен габарит/фарове/ има напрежение) или "контакт"(ако вземем ток от акумулатора) ще излезе друг проблем.
RANOPILE - напреднал
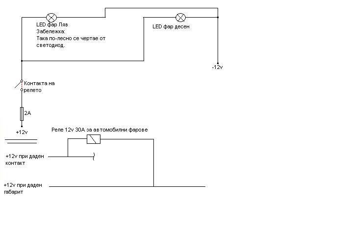
Стигнах до следното заключение след като един колега от VW форума ме посъветва какво реле да взема и как да го свържа.
Като се подаде контакт възниква разлика в потенциалите в двата края на намотката на релето и то се задейства(контакта му се затваря и имаме светлини), след като включим габарит и в двата края на намотката на релето има 12v, то следователно отпада и вече нямаме дневни светлини.
Поправете ме ако имам грешка, но така ме посъветваха да го вържа да не използвам 2 релета(демек ще използвам минуса на габарита, докато не е подаден + на него- това е единственото което малко ме обърква).
Реле намерих, сега търся предпазител 2А с гнездо(легло) за по-сигурно :)

Прикачен файл

LEDlightsnov.JPG
LEDlightsnov.JPG (19.76 KиБ) Видяна 1561 пъти
RANOPILE - напреднал
Та сега остана въпроса ми е дали ще мога по някакъв начин да накарам релето с малко закъснение(около 5-10сек.) да задейства, защото съм чувал че не е хубаво за светодиодите да светят докато двигателя пали(но не мога да се обоснова). Знам че ако искам да отпусне със закъснение може да му се свърже паралелно един кондензатор и резистор.
И трудната задача, която за момента ми се вижда почти невъзможна е да бъда известен вътре в купето дали дневните светлини ми светят(има чисто контролна функция, което ми беше първоначалният замисъл, но бързо ме отказаха от него).

Тема "Какво реле на 12v да използвам?" | Включи се в дискусията:


Сподели форума:

Бъди информиран. Следвай "Направи сам" във Facebook:

Намери изпълнител и вдъхновения за дома. Следвай MaistorPlus във Facebook: