• 1
  • 2
  • 3
  • 4
  • 5
  • 10
Най - вълнуващия въпрос зимно време.
msm - напреднал
Здравеите искам да си направя тръбен
топлобменник на турска печка от
кафяфите.Същия като този в темата
http://www.napravisam.bg/forum/viewtopi ... 769ec166eb
Димоходните тръби на изхода от печката а
около тях водосъдържателя. Моля за съвет
и помощ при изчисляването и
конструкцията за някои тънкости и
особености. Примерно правоъгълна кутия с
размери 200Х300Х800 вътре надлъжно
хоризонтално 18-20 тръби Ф48Х2Х600.
Дима се движи по 9-10 тръби в едната
посока за да се запази Ф130 кюнец.После
се връща обратно и към комина.Това е всичко но дали е ще работи Затова моля за помощ.
Последна промяна от msm на вт сеп 15, 2009 7:52 pm, променено общо 4 пъти.
stoian64 - специалист
Ще се задръстят тръбите при експлоатацията.
msm - напреднал
stoian64 написа:
Ще се задръстят тръбите при експлоатацията.

Идеята е от горната тема , чисти се с шомпол.
Въпроса е дали оразмеряването не е грешно и ако да какъв е принципа за да работи.
Моля за съвет и идеи, смятам , идеята е добра и
ако се коригира от компетентни хора може да помогне на много хора с не много средства да решат или подобрят отоплението си на твърдо гориво. Топлообменника на димните газове е приложим за всяка печка на твърдо гориво. Ако е работещ.
Последна промяна от msm на вт сеп 15, 2009 7:14 pm, променено общо 1 път.
fbr - майстор
Писането с главни букви означава че повишаваш тон, в първия ти пост модератора ти прави забележка , ти не вземаш това под внимание. И второ, като даваш пример от някоя друга тема, е добре да дадеш линк към нея.
msm - напреднал
Съжалявам за главните букви и моля за извинение проблема е зрителен и няма нищо общо с повишаване на тон. Още веднъж моля за извинение и благодаря на всички изразили мнение
AntonBM - специалист
Топлообменника така, както си го описал няма как да не работи.
С 9 тръби се запазва светлото сечение. Ти искаш да направиш 2 хода – напред и назад. Това е добро решение за котел, но за толкова малка печка е по-добре да не усложняваш движението на въздуха. Пречи се на тягата. В котлите тя се осигурява от висок комин, но при тези печки това не винаги е налично.
Не ми стана ясно как точно ще наместиш кутията 20/30/80 см в печката. По принцип пробвай и ще видиш, че за да събереш 18 тръби ще ти трябва кутия с лице 20/32 см., за да събереш 18 тръби. Как ще стои кутията, вертикално или хоризонтално?
За да се събира по-малко конденз е добре тя да е вертикално, но вторият ход на димните газове в този случай ще е обратен на естествената посока на димните газове.
Най-добре помисли само за 1 ход на димните газове. В твоята кутия така, както си я описал се поучава нагревна площ на димогарните тръби от 1,56 м². Ако кутията ти е в печката към тази площ се добавя и площта на външните и стени. С тази площ може да се изкарат към 25-30 kWh, но печката няма място за толкова гориво (дърва). Горивната и камера събира дърва, които при горенето могат да докарат най-много 10 kWh.
Т.е. може да намалиш габарита на кутията. Помисли за вариант с вътрешен монтаж на кутията и един ход на димните газове, като тръбите да са разположени вертикално или хоризонтално, но с наклон поне <5°. Примерно кутия с лице 15/20 cm, на което са монтирани 8 тръби с дължина 25 см. монтирана под изхода за комина ще има полезна нагревна площ към 0,35 м². Такава риза може да докара към 6 kWh на теория – по вероятно е да са към 4 kWh – стига за 2 радиатора.
На димогарните котли в тръбите се слагат спирали за завихряне на потока. Някои, им казват турболизатори. Помисли и за такъв вариант.
П.П. Защо ти трябва да откриваш колелото? Откради си идеята от линка който си пуснал (със снимката на печката). Там нещата са направени перфектно. Лесно за обслужване и почистване.
msm - напреднал
AntonBM написа:
Топлообменника така, както си го описал няма как да не работи.
С 9 тръби се запазва светлото сечение. Ти искаш да направиш 2 хода – напред и назад. Това е добро решение за котел, но за толкова малка печка е по-добре да не усложняваш движението на въздуха. Пречи се на тягата. В котлите тя се осигурява от висок комин, но при тези печки това не винаги е налично.
Не ми стана ясно как точно ще наместиш кутията 20/30/80 см в печката. По принцип пробвай и ще видиш, че за да събереш 18 тръби ще ти трябва кутия с лице 20/32 см., за да събереш 18 тръби. Как ще стои кутията, вертикално или хоризонтално?
За да се събира по-малко конденз е добре тя да е вертикално, но вторият ход на димните газове в този случай ще е обратен на естествената посока на димните газове..

Благодаря за подробния и компетентен отговор.
Корекцията на мощноста е много важна иначе щях да
бера ядове с преохладени димни газове.
Монтирането на кутията лирата в печката е
невъзможно няма място.Печката представлява
цилиндър D 320-350 H 550 който е и горивна
камера вътре се слага казанче с дърва например.
кутията Остава отвън точно на изхода там газовете
са много горещи често и с пламък има пряка
видимост към факела в камерата.
Двата хода бих искал да ги запазя освен ако няма
накъде.Смятам да има клапа на входа на тръбите на
топлообменника тя затваря пътя към тръбите и
отваря директно изхода на печката към кюнците
практически игнорира изключва лирата при лоша
тяга, прегряване,първоначално разпалване може и
да се регулира тока през лирата сиреч мощноста.
Разположение хоризонтално с лек наклон надолу
заради конденза, а той не може ли да се избегне с
обмазка шамот или нещо друго?
Турболизаторите с каква стъпка се правят и какъв
е диаметъра на тела.
След като лирата е извън печката дали при
квадратурата 0.35м.кв. е равна приблизително на
4kW и трябва да се смята само повърхноста на
тръбите ако да то те трябва да се удължат или да
се увеличи броя им кое е по добре?
В горния линк има два вариянта единия този от
снимката (водната риза е вътре цилиндър в
цилиндър и не може да се изключи палиш грееш
водата) и другия този дето аз искам да ползвам.
Надявам се на съвети и дискусии по темата.
Още веднъж благодаря за пълния и компетентен
отговор. Засега със здраве и успех.
AntonBM - специалист
Щом ще слагаш този топлообменик вън от печката, много от нещата писани от мен по-горе не са актуални. Добра идея имаш за байпаса на изгорелите газове. Според мен, след като не гониш събирането на това нещо вътре не се стреми и към намаляване на нагревната повърхност. Първоначалната ти идея е по-добра. По-голямата площ на топлообменника не е минус. Проблема със смъкването на температурата на изходящите ти газове, ти вече си го решил с байпаса. Тези 25-30 kWh са, ако топлообменника е вътре в горивната камера – там температурата е много по-висока. При външен монтаж с тази площ ще изкараш по-малко, към 15-20 kWh.
Конденза не можеш да го избегнеш. Той идва от дима – при горенето се отделят вода, серен двуокис и още много други. Водата и серният двуокис се свързват в сериста киселина и тя кондензира по повърхностите с по-ниска температура. После се смесва със сажди и се получава познатата ни гадост. Ако сложиш някаква обмазка, тя би трябвало да е на повърхността, която извършва топлообмена между димните газове и водата. Това обаче е точно повърхността, която върши работата. Замазката ще пречи на топлообмена. Единственият начин да се намали и премахне образуването на този конденз е да се повиши температурата на водата във водната риза. Това се прави по-много начини – няма да описвам всичките, сам ще се сетиш за още, аз давам 2-та основни:
1. Слага се термостатичен вентил на изхода на ризата, който е затворен при по-ниска температура и отваря при затопляне на водата. Така държи температурата на водата и ризата висока.
2. Включва се циркулационната помпа с термостат, след като водата се загрее над 55-60°С.
Личното ми мнение е да се върнеш на предложеният от теб габарит, но да караш на 1 ход, като сложиш и турболизатори. Сложна дума за просто нещо. Най-прост турболизатор можеш да направиш от спирално навита метална лента. Трябва да се получи нещо като пружина с диаметъра на димните тръби. Слага се вътре и кара дима да се върти (удължава му пътя) при преминаване през тях. Това нещо може да го сложиш вертикално – конденза ще се стича по-лесно, но и хоризонтално пак ще си работи. Драсни някаква схема. Може да ми дойде и друга идея.
msm - напреднал
[quote="AntonBM"]Щом ще слагаш този топлообменик вън от печката, много от нещата писани от мен по-горе не са актуални. Добра идея имаш за байпаса на изгорелите газове. Според мен, след като не гониш събирането на това нещо вътре не се стреми и към намаляване на нагревната повърхност. Първоначалната ти идея е по-добра. По-голямата площ на топлообменника не е минус.

Отново благодаря за съветите.

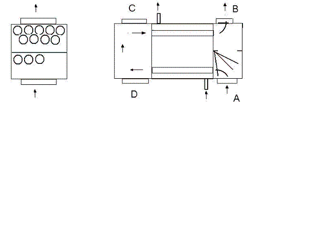
В резюме габарити 250Х250Х900,
L 600 за тръбите ф48х2
Хоризонтално разположен с два хода брой тръби 8 или 9 на ход
горе долу това е ще пробвам да кача нещо като схема ако успея.
кожуха мисля да е 2мм ламарина или може и по тънка? Има ли особеност точно от къде да се изведе топлата вода и къде да се подава студената например да не е в една точка за да не се получи зона с голяма температурна разлика. За термостат и термо датчик могат ли да се ползват автомобилни и допустимо ли е или само такива които са за котли и камини, за помпата също?
Сигурно има още но за сега стига.

Пак благодарности Здраве и успех.
msm - напреднал
ще пробвам да кача нещо като схема ако успея.

Прикачен файл

untitled.GIF
untitled.GIF (9.68 KиБ) Видяна 16380 пъти

Прикачен файл

termo pipe8.GIF
termo pipe8.GIF (10.06 KиБ) Видяна 16380 пъти

Прикачен файл

termo pipe9.GIF
termo pipe9.GIF (10.86 KиБ) Видяна 16380 пъти
  • 1
  • 2
  • 3
  • 4
  • 5
  • 10

Тема "Тръбен топлообменник" | Включи се в дискусията:


Сподели форума:

Бъди информиран. Следвай "Направи сам" във Facebook:

Намери изпълнител и вдъхновения за дома. Следвай MaistorPlus във Facebook: