Най - вълнуващия въпрос зимно време.
anatolt
- помощник
102 мнения в "Почнах и аз слънчевия колектор ..."
filmatoplo
- майстор
- Мнения: 17842
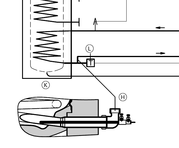
Ако няма къде да се сложи датчика на бойлера се слага на изхода на серпентината . Изходната температура на флуида в серпентината е с температура равна на водата в бойлера + - 1 гр . А горния датчик на изхода от панела - за предпочитане датчиците да се монтират в медни гилзи потопени във флоида , ако няма такава възможност се долепят до медната тръба - овиват се с тиксо и върху тях се надява изолация . 
2v6
- майстор
- Мнения: 2200
yakinceto написа:В началото сложих датчика отдолу на бойлера ,но отчиташе 18-20 градуса и помпата почти не излкючваше .После го сложих на входа на студената вода и е супер сега.Махаш гумичката леко пробиваш изолацията с отверка и пъхаш датчика.Нищо не се разбира
Една снимка или скица можеш ли да направиш
filmatoplo
- майстор
- Мнения: 17842
Мамицата им на онези скапани диферинциални термостати поморийските , пускам днес една система и показанията на циферблата се редуват едни нереални цифри - по едно време спря номерата но показваше с 5-10 гр по малко . Писна ми вече , термостата ли да сменям или само датчика . Къде има по читави термостати на добра цена - побеля ми косата с тия - всяка седмица пращам по 1 за ремонт .
filmatoplo
- майстор
- Мнения: 17842
Моя бойлер в къщи е същия , захранвам го само с печка Прити
Там кабела става , наблюдавай системата кога стартира сутрин и кога спира вечер . Нормално тръгва в 9 и спира в 17 часа - зависи от температурите де ,ако иска коригирай дифиринциалната разлика от термостата 5-7 градуса - при теб може и друга да е . Номера е да се спести някой лев за 
2v6
- майстор
- Мнения: 2200
yakinceto написа:На втората снимка съм показал къде беше датчика , а после ......то се вижда кабела още висиАко искаш да правиш подобрения започни с датчика - мястото в момента е добре, но ако е в сонда ще е по-точно и можеш да пробваш с по-ниска разлика.
Прикачен файл
Място за монтаж на датчик температура диференциален термостат
threaded_elbow.gif (10.07 KиБ) Видяна 4223 пъти
Zurlata
- специалист
- Мнения: 190
Само нещо да питам! Така поставен тоя датчик ще мери най-точно когато помпата работи и течноста циркулира в серпентината, температурата ще е равна на тази в бойлера. Но когато помпата е спряла за дълго време(ноща) тогава ако датчика е в тръбата която част е извън кожуха на бойлера няма ли да отчита по ниска Т ? (вън е по хладно , и като няма циркулация....)
Не е ли по добре да има и трети датчик вътре в боилера с директен контакт с водата, така този отвън ще сравнява Т когато има циркулациа, а този вътре в боилера ще отчита по точно когато помпата е спряла
Не е ли по добре да има и трети датчик вътре в боилера с директен контакт с водата, така този отвън ще сравнява Т когато има циркулациа, а този вътре в боилера ще отчита по точно когато помпата е спряла
Тема "Почнах и аз слънчевия колектор ..." | Включи се в дискусията:
Сподели форума:
Бъди информиран. Следвай "Направи сам" във Facebook:
Намери изпълнител и вдъхновения за дома. Следвай MaistorPlus във Facebook:
Имаш нужда от подходящ професионалист за дома?
- Преустройство, ремонт и реновиране
- ↳ Вашите ремонти
- ↳ Кухня
- ↳ Баня
- ↳ Дневна
- ↳ Спалня
- ↳ Детска
- ↳ Градина
- ↳ Коридор
- ↳ Тераса и балкон
- Направи сам
- ↳ Направи сам
- ↳ Ремонтирай сам
- ↳ Къде е по-евтино?
- ↳ Дърводелство
- ↳ Ел. инструменти
- ↳ Металообработване
- ↳ Конкурс "Направи сам 2012"
- Строителство
- ↳ Всичко за вилата
- ↳ Къщи
- ↳ Саниране
- ↳ Хидроизолация
- ↳ Пасивни и нискоенергийни сгради
- Сухо строителство
- ↳ Окачени тавани
- ↳ Преградни стени и предстенни обшивки
- ↳ Сухи и повдигнати подове
- ↳ Декоративни елементи - колони, трегери, сводове и др.
- ↳ Всичко за гипскартона и гипсфазера
- Въпроси и Отговори
- ↳ Полезни съвети
- ↳ Автомобили
- ↳ Партньори
- ↳ Боядисване и Декориране
- ↳ Вентилация, климатици и термопомпи
- ↳ Водоснабдяване и канализация.
- ↳ Всичко за ремонта
- ↳ Електротехника
- ↳ Отопление
- ↳ Газификация
- ↳ Електроника и Схеми
- ↳ Газобетон
- ↳ От всичко по малко
- ↳ Компютри и периферия
- ↳ Уеб дизайн, PHP, MySQL, JavaScript, HTML..
- ↳ Мобилни устройства, GSM-и
- ↳ Нека се запознаем
- ↳ Recycle Bin
- Статии
- ↳ Практични решения
- ↳ Качване на снимки
- ↳ Какви статии искате?
- ↳ Готварство, туршии и зимнина
- ↳ Отмора и шеги
- ↳ От нищо нещо
- ↳ Не е за вярване
- ↳ Литература
- ↳ Връзки към Интересни сайтове
- Магазин
- ↳ Препоръки и Мнения за он-лайн магазина
- ↳ Крадeни инструменти !!!


