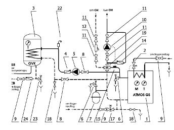
2v6 написа: naskov, ще ти кажа една причина - горещата вода е по-лека от студената и затова без помпа може само да се издига.2v6, на всяка твоя схема има помпа и затова водата се издига и спуска без проблеми. А ако един 2пътен вентил може да замени 4пътен, то 4 пътните намаше да са ги измислили
4-пътен вентил (90 лв) в схема с една помпа спокойно може да се замести от 2-пътен (10-на лв) - ще върши същата работа:
Прикачен файл
shema 4 way.png (19.88 KиБ) Видяна 5426 пъти

