Най - вълнуващия въпрос зимно време.
fbr - майстор
А защо не ги направиш с диаметър около 40 милиметра , и с възможност за регулиране. Не знам дали има такава формула, тъй като зависимостите са много комплексни. Даже мисля че диаметъра е по-малкия проблем, а определянето на мястото на самия отвор е по-трудната част от задачата.
zlatko64 - специалист
ФБР, благодаря за интереса.

По отношение на мястото на подаването на въздуха: мисля първичния да си остане както е - под въглените. Вторичния - както се вижда на снимката по-горе, но с едно допълнение - мисля да махна огнеупорните тухлички под жарта, те са около 3 см., да прекарам медна тръба зигзагообразно по дъното, около решетката за навлизане на първичен въздух, да наредя тухлички около тръбата за да има сравнително равно място за жарта, а самата тръба да издигна както се вижда на снимката по-горе. На нея съответно дупчици - идеята е жарта на нагрява въздуха в тръбата и на изхода да има макс. загрят въздух ...колко дупчици, с какво Ф, къде точно да излиза вторичния въздух...все тежки въпроси, но се надявам с помощта на форума да намеря отговор и на тези въпроси.
zlatko64 - специалист
Ето тук се вижда къде са го прекарали вторичния въздух

Прикачен файл

untitled.JPG
untitled.JPG (81.55 KиБ) Видяна 5615 пъти
zlatko64 - специалист
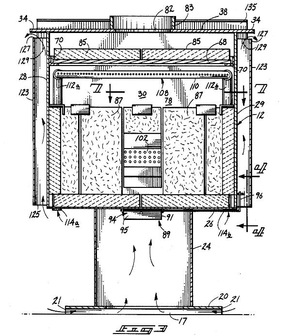
Ето още един чертеж, който доста точно показва кое къде е.

Прикачен файл

untitled1.JPG
untitled1.JPG (103.68 KиБ) Видяна 5613 пъти
zlatko64 - специалист
zlatko64 написа:
Все още не е прекроена ламарината под купола. Идеята там е да се остави процеп за огъня само от задната страна на камината. Така се надяваме да се прекара огъна само покрай тръбата.
Ламарината под димоотвода е прекроена. Сега горещите газове излизат само от процеп пред вратичката - т.е. от ляво, дясно и отзад не преминават горещи газове, както е на чертежа по-горе. Ефекта е налице! При добро разгаряне/буйни пламъци/ и затваряне на клапата за първичен въздух около дупките по тръбата за вторичен въздух се наблюдават пламъчета - вторично изгаряне!!!

И сега възникна допълнителен проблем. Горивната камера практически е с липса на уплътняване около вратичката. Логиката е да се уплътни за да се подава въздух на точното място, а не произволно. След като това беше направено стъклото се зацапа много бързо :sad: Някой има ли идея защо това се случва? Лошо горене = сажди - зацапване? :?
zlatko64 - специалист
Получи се! На снимката се вижда в горната лява и дясна част пламъците - това след зареждане вържу силна жар и ограничаване на първичния въздух. Не се вижда тръбата, но пламъците излизат от нея. Сега остава да стабилизирам процеса с регулация на тягата на комина.

Прикачен файл

Снимка0198.jpg
Снимка0198.jpg (90.46 KиБ) Видяна 5490 пъти
krushoyadeca написа:
Здравейте майстори. Интересува ме някой от вас дали си е майсторил печка на дърва с конструкция осигуряваща максимално изгаряне на горивото ( печка с използване на вторично горене )
Хммм,доста години за моя отговор,но за мен пък няма значение "Времето е най-простото нещо" :-D

Пиролизно-ЕДНОКАМЕРНО!!!!!,дву и три-камерно ако искаш :-D ,на скоро "видях' къде е третата,камера...

За мен класиката е -двукамерно изгаряне,и не за друго ,а защото: така се постига ефект на :"ТЛАСКАНЕ" на газовете,и след втората камера са абсолютно чисти/въглероден двуокис+вода-влагата ,която е била в дървата/
В момента разработвам,модификация на идиотското-Турско кюмбе....да стане двукамерна ламя,ама май ще ми трябва малко повече височина на втората камера/кюмбето/...нещо което ми се иска да избегна,но в скоро време тестовете ще покажат.... :cool:
mitkomaca - специалист
Малко да съживим темата за печка ала направи си сам, та и аз си направих една такава само и единствено от желязо, от долу кутий 7*7*4 по две заварени една за друга на горе винкели и панелни радиатори, от горе ламарина 2мм заварена за страниците размери на камерата 40*40*55 врата 35*40 като и заредя по 5-6 часа нея търся аз дърва не цепя а ако е по здраво дърво слива, акация, дъб или кълн може и 10 и повече часове да гори

Прикачен файл

IMG_20160925_150103.jpg

Прикачен файл

IMG_20160925_150047.jpg

Тема "Печка на дърва - secondary combustion" | Включи се в дискусията:


Сподели форума:

Бъди информиран. Следвай "Направи сам" във Facebook:

Намери изпълнител и вдъхновения за дома. Следвай MaistorPlus във Facebook: