• 1
  • 2
Най - вълнуващия въпрос зимно време.
Radoslaw - специалист
kalin72 написа:
Радославе, аз често пазарувам онлайн от чужбина, дори съм купувал някои неща от Kotly.com, като банковия превод е 10 лева, в курса за деня разликата беше 5 лева, и доставка 100 лева, за тежки предмети. Така че наистина БГтерм си слагат една прекрасна печалба от поне 500 лева, предполагам купуват директно от прозводителя, та не им прави чест...ама българска компания, кво да праиш...

Не ми се спори,но банков превод за 10 лв е абсурд.Таксите са две ,едната е за кореспонденска банка около 15 евро.доставката 100 лв е за малки пратки ,контролер вентилатое и т.н.Друг е въпроса в конкретния случай ,може да се плати с Pay Pal.
svata - помощник
Кои са другите горелки?
Radoslaw - специалист
svata написа:
Кои са другите горелки?
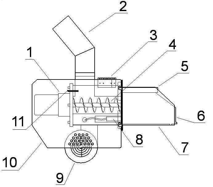
Това са две горелки ,по нищо не отстъпващи на Kostrzewa i Pellas(беше показана и дискутирана,тук във форума преди 10 дни)Цената спрямо Pellas e na 50% по ниска.
От Kostrzewa около 20% по ниска.Смея да твърдя ,че е по хубава от нея.Май Kostrzewata,която си си харесал ,няма вътрешен шнек.Контролера е както и при Pellas и Kostrzewa.Тоест последно поколение с тъй наречената размита логика - автоматичен избор на параметрите на горене - потребителят трябва само да настроите желаната температура на централно отопление и битова гореща вода и, ако е необходимо, миксер (в основата).

Втората е специално пригодена и проектирана за модернитр в България агро пелети(слънчогледови и не само а и сламени)Има специална механична система за почистване.Който е опитвал със сламени пелети ,ще разбере за какво е тя.
Засега толкова.

Прикачен файл

Shema.jpg
Shema.jpg (28.77 KиБ) Видяна 2441 пъти

Прикачен файл

palnik_960x800_4.jpg

Прикачен файл

palnik  buowa.jpg
palnik buowa.jpg (41.8 KиБ) Видяна 2441 пъти

Прикачен файл

agropaleti.jpg
agropaleti.jpg (28.67 KиБ) Видяна 2443 пъти
Radoslaw - специалист
Забравих .Вътрешната част на първата горелка е от чугун.Не ,че е кой знае какво предимство ,но аз лично го предпочитам пред CrNi топлоустойчиви стомани.
svata - помощник
Благодаря Радослав.Кostrzewa има втори шнек това е сигурно!Ще имамв предвид другите горелки.Имам въпрос относно контролера с така нарачената разбита логика,по добре ли е от този който се монтира на почти всички горелки в България?Ако е така :по просто за експлоатация и дава съответната икономия на гориво,защо не се прилага в нашите горелки?
filmatoplo - майстор
Palnik MOC na peleti. сайта е Cichewicz.pl натискаш там меnu и търсиш palniki na pellet има и филмче.
  • 1
  • 2

Тема "Горелки на Kostrzewa" | Включи се в дискусията:


Сподели форума:

Бъди информиран. Следвай "Направи сам" във Facebook:

Намери изпълнител и вдъхновения за дома. Следвай MaistorPlus във Facebook: