• 1
  • 73
  • 74
  • 75
  • 76
  • 77
  • 136
Всичко свързано с въздушния поток, който дишаме.
Ahmakov - специалист
a_stoev написа:
Всъщност предпочитам разрез на чертеж, както и всякаква техническа документация.

Прикачен файл

US20180051697A1-20180222-D00000.png
US20180051697A1-20180222-D00000.png (26.2 KиБ) Видяна 1748 пъти
шоп - майстор
Boyan написа:
Но ти е време да продълиш напред . Купи си едно хладилничарско оксиженче .
Или кислородна бутилка с хубав редуцил , някаква газова и един средна ръка бренер като този :
https://apogee99.com/index.php?main_pag ... ts_id=4564
Как да не се съглася!
Аз от доста време мисля и все не се решавам:-) Не е въпрос на финанси. За хобито си човек все ще намери пари. Още повече , че се мъча с МАП горелката да запоявам медни тръби за слънчеви системи за топла вода.

Поръчах една 10л нова кислородна бутилка и бренера. Маркучи, скобички, пропанови бутилки и редуцир вентил за кислород имам. Ел. везна до 20 кг също имам.

Реших да си купя и вакуум помпа. Въпреки, че съседа ми монтира климатици и има такава е неприятно да досаждам....то за 1-2 или 3 пъти ще го викна и няма да откаже, но за повече става нахално :idea:

Та въпроса ми е, каква вакуум помпа за любителско ползване да купя???
Гледам Value двустъпални...обаче с различна мощност и дебит....1/2. 3/4 или една конска сила

има даже 1/4 и 1/3

то аз при вакуумирането няма да бързам за никаде...та въпроса ми е какво и с какви характеристики да купя?
a_stoev - майстор
Луд ли си? Не ти трябваше бутилка.
На отпадъците редовно излизат бутилки в добро състояние, без корозия, даже и с неистекъл срок на проверка.
Веднъж даже купих бутилка на улицата пред вкъщи,. За СО2 с редуцир, паркуч и капачка за шише от кола -комплект за газиране, за20лв. Трябва да ги посъбера че съм се затрупал. Вземи си редуцир на газовата, те са едни такива, кръгли,
http://elenagas.com/shop/%D0%B1%D0%B8%D ... rgaz-NG003
Бренера какъв е? Трябва е марков, че ментетата имат гаден луфт в крановете и пламъка се променя.
Вземи си заплка за оксижен
https://tashev-galving.com/094%20KAM%20105
Вакума двустъпален, нямаш нужда от висик дебит. Гледам по обявите са по скъпи от магазините, така че вземай нова.

Линковете са примерни.
шоп - майстор
a_stoev, благодаря за коментара.
Аз имам телоподаващо, инверторен електрожен и аргон. Имам доста бутилки за СО2, някои нови, някои 2 ра ръка, но в срок. Имам и нови две за аргон.Проблема е,че в София знам на две места да зареждат кислород ( Месер на Гара Искър и на Сточна Гара), но и на двете места няма да заредят кислород в бутилка с изтекъл срок или от друг газ. И ги разбирам, виждал съм гръмнали кислородни бутилки :x

Аз самият съм пожарникар и бутилки за СО2 от пожарогасители мога да намеря и имам достатъчно такива...но ако дам пари за смяна вентил, балансен клапан и заверка си направих сметката, че по-добре нова, заверена и пълна:-)))

Бренер поръчах от линка даден от Боян. Около 145 лв е, не е евтин. На Ротенбергер е, дано е добър.

Благодаря за съвета за вакуум помпата. И аз мисля, че двустъпален дори и с малка мощност ще ми свърши работа. Нова ще е и с гаранция. Нещо като това или следващият по мощност.
https://apogee99.com/index.php?main_pag ... ts_id=3458
Отворен съм към всякакви съвети!
a_stoev - майстор
Те щом са изтекли сроковете, бутилките трябва да си минат теста, доплащаш само 25 лв за крана. Даже цената на труда по смяната на крана по принцип влиза в проверката, зсщото тогава се сваля кран.
Три бутилки имам от пожарогасител и други газове, тествани и със сменен кран за кислород. Вжното е да са сухи без мазни остатъци, ако трябва промий с ацетон при съмнения и суши с пистолет. Едната я ползвам за азот, и на теб ще ти трябва, може да минеш с аргоновата.

На различните места бият различни срокове, някои 5, някои 7г. Гледай да е за по-дълъг срок.
Boyan - специалист
шоп написа:
Бренер поръчах от линка даден от Боян. Около 145 лв е, не е евтин. На Ротенбергер е, дано е добър.
Ами само ще кажа , че имаме 2 резервни такива . Единият е на 20 и няколко години , а другият на 5 .
И като се скапе някой от професионалните Хариси в производството , опираме пак до тях .
шоп написа:
Благодаря за съвета за вакуум помпата. И аз мисля, че двустъпален дори и с малка мощност ще ми свърши работа. Нова ще е и с гаранция. Нещо като това или следващият по мощност.
https://apogee99.com/index.php?main_pag ... ts_id=3458
Отворен съм към всякакви съвети!
Това е вакуумпомпа , която е по-скоро в категория "играчки" или "действащ модел " .
Ако искаш нещо , което наистина е вакуумпомпа вземи си нещо такова :

https://www.olx.bg/ad/vakuum-pompi-ID61mn6.html

Поискай си модела , който е за 5 по 10 на -4-та степен тора .
И все пак избора е твой .
Недостатъци :
Тази , която ти показвам е трифазна , няма дръжка за лесно пренасяне , по-тежка е с поне 3 килограма и на струг се прави адаптер за фреоновите маркучи .
Предимства :
Практически вечна . Вакуума и не се променя с времето или температурата и е в пъти по-добър като стойност .
Малко обяснение на стойностите :
Вакуума , който правят помпите е прието да се мери във милиметри живачен стълб и това "на степен еди коя си" е броя на нулите .
Ако на играчката от линка се изпише по този начин , а именно 2 по 10 на минус втора степен тора (2 паскала са точно 0,02 тора) , то едва ли някой ще я вземе на сериозно . ( истинската помпа от вторият линк прави 0,0005 тора )

Какво означава това на практика за нас .
Ако монтирам климатици бих предпочел играчката , заради по-малкото тегло , ограниченото време на работа и ниските изисквания към вакуума . А и навсякъде има монофазно захранване а трифазно по-рядко .
Ако ще почиствам или дехидратирам система и рядко ще ми се налага да я разнасям , бих си взел истинска вакуумпомпа , оразмерена за непрекъсната работа и способна гарантирано да изсмуче влагата при стайна температура .
шоп - майстор
Нищо не разбирам от вакуум помпи, тази от линка производство на ГДР наистина изглежда масивна и истинска:-)

Теглото и трифазният ток не са проблем. Малко ме притеснява, че трябва да се струговат преходници, но не е болка за умиране.

Боян, подготвям компресора и тези дни ще го режа от климатика. Та да питам: отделителят на течната фаза ще ми трябва ли? Не съм го мерил и смятал като обем, но е около 2 литра.

Според мен, няма да ми трябва, защото преоразмереният кондензатор, ще играе ролята и на ресивър...но не съм сигурен. Може много да бъркам и да трябва да го има. За ротационните компресори знам, че е задължителен, но Саньото е скрол:?

Прикачен файл

SAM_9434.JPG
a_stoev - майстор
Запази течносттния отделител да е мирно селото. При тая цена за нова, тея от OLX не изглеждат зле като оферта.
А за стругаря не бери грижа, да ти направи прехода към помпата и си запой си една игла за зареждане към него, защото много не обичат цоловите резби по фреоновите чудеса.

Аз да обясня задачата което стои пред мен.
Наличен е следния нереверсивен агрегат вода вода:
Два компресора JT95GBBV1L, 31144Btu/h
два кондензатора К095 60B
Дроселиране с капилярки на изхода от кондензаторите
И след това се обединява в един изпарител K205 34C
След изпарителя се преминава през странен съд, около 1 л, леко издължена сфера, или закръглен цилиндър с неисвестна функция и се разделя към двата компресора. Входа и изхода на съда са по оста на цилиндъра, прилича на на филтър, но е много късо като за диаметъра на тръбите, поне по моя опит със стандартнои филтри за течна линия. Не прилича на течностен отделител, като на малките компресори, много е тумбесто. Ако е ресивер, какво прави там?
Та на тоя недотандемен агреагат е изгорял единия компресор, потърсиха ме за смяна. За отказах директна смяна, като му предложих да го вкараме в час. до сега е постигал някакъв COP да речем 1.5, товара на къщата е около 10 kW, а е харчел 7 кW, захранва се от заровена серпентина, която е с недотатъчна мощност, 700м гъсто положена в обратния насип на склона, къщата е на баир.

Смятам да направя следните неща:
Махам изгорелия компресор, свързвам двата кондензатора и ги ползвам в паралел, слагам наблюдателно стъкло, обезкислителен филтър-дехидратор, ТРВ, течностен отделител 2 л от една въздухарка като донора на шопа.
Наличните топлообменници няма какво да се правят, знам, че ще станат 3-кратно преоразмерени, поне да влязат в употреба. ТРВ ми предлагат 068U1918 - TUBE. Мисля да сложа и електромагнитни клапан преди ТРВ на течната линия и паралелно на компресора за изравняване.
Не се смятам за достатъчно клвалифициран да проектирам машина, но виждам, че в настоящия вариант е нежизнеспособен и противоречи на всякакви логики и теоретични постановки и се опитвам да го вдигна на крака. Тоя дайкин ми е много странен. Примерно Притеснява ме че няма как да се грее картера. Нямам идея как да му проверя нивото на маслото. То най-добре е да се смени, ама как?
Boyan - специалист
a_stoev написа:
Нямам идея как да му проверя нивото на маслото. То най-добре е да се смени, ама как?
Промените , които си набелязал бих ги направил и аз .

Маслото го излей от компресора , като го наклониш да легне на една страна със изхода надолу .
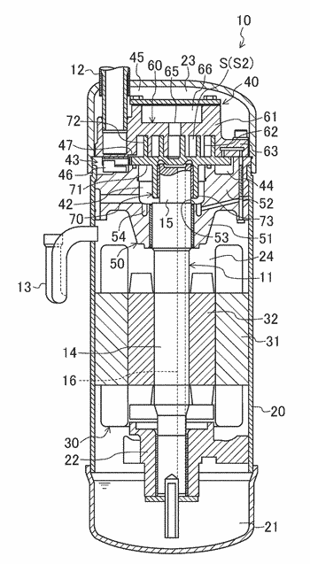
Конструкцията няма да е точно тази от картинката на колегата , защото не е на този компресор , а на патент от преди десетина дни .

http://images2.freshpatents.com/imagevi ... 0180051697
Но не очаквам големи разлики поне по основните компоненти .

Да не те притеснява , че изглежда странно . Картерният реотан се слага по същият начин . При компресори , които си помпят в корпуса няма разпенване на маслото при старт . Но пак е добре да се сложи картерен реотан .Служи да тръгва компресора при по-нисък вискозитет на маслото . Ако пък в компресора попадне много фреон , маслото ще се вдигне над него и когато стартира компресора известно време ще се смазва на чист фреон . Реотана елиминира и тази ситуация .

Аз прилагам един лесен трик за наливане на маслото .
Просто си хващам с бишоп или дори тиксо маркуча на вакуумпомпата за ниското на компресора и още някакво маркучле на високото на компресора . Пускаш вакуумпомпата и топваш маркуча на високото в тубата с маслото . Засмуква си го без фунии и оливане.
На пръв поглед не би трябвало да става заради клапана на компресора , но си става винаги защото тези клапани пропускат по малко .

Входа на компресора го пази чист . Нищо не трябва да попада там , защото отива директно между спиралите .
  • 1
  • 73
  • 74
  • 75
  • 76
  • 77
  • 136

Тема "Термопомпи Вода-Вода - всеки може да си направи сам" | Включи се в дискусията:


Сподели форума:

Бъди информиран. Следвай "Направи сам" във Facebook:

Намери изпълнител и вдъхновения за дома. Следвай MaistorPlus във Facebook: